軸用YC型圈
SYC型軸用Y形圈具有結構簡單、安裝方便、成本低、密封性能好等特點,用于活塞桿單向密封。它的主要材料是主要材料有丁晴橡膠NBR和氟膠FKM,設計選用時可參照GB/T10708.3-2000標準。
工礦條件:
工作壓力:≤20MPa;
工作溫度:丁晴橡膠NBR:-30~+120℃;
氟膠FKM:-20~+200℃;
工作介質:液壓油(礦物油基);
往復速度:≤1.2m/s。

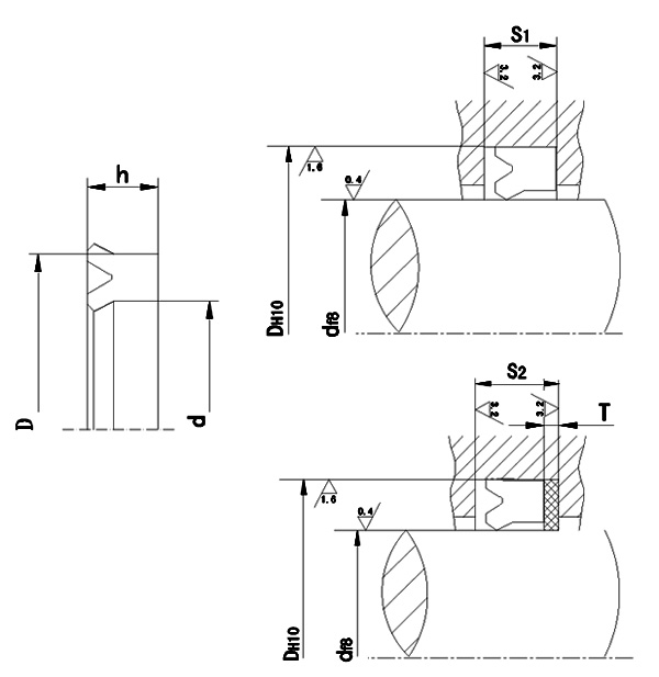
規格及溝槽尺寸
| 訂貨號 | d | D | H | S1+0.2 | S2+0.2 | T |
| SYC-061446 | 6 | 14 | 4.6 | 5 | 6.5 | 1.5 |
| SYC-081646 | 8 | 16 | ||||
| SYC-101846 | 10 | 18 | ||||
| SYC-122046 | 12 | 20 | ||||
| SYC-142246 | 14 | 22 | ||||
| SYC-162446 | 16 | 24 | ||||
| SYC-182646 | 18 | 26 | ||||
| SYC-202846 | 20 | 28 | ||||
| SYC-223046 | 22 | 30 | ||||
| SYC-253346 | 25 | 33 | ||||
| SYC-283856 | 28 | 38 | 5.6 | 6.3 | 7.8 | |
| SYC-324256 | 32 | 42 | ||||
| SYC-364656 | 36 | 46 | ||||
| SYC-405056 | 40 | 50 | ||||
| SYC-455556 | 45 | 55 | ||||
| SYC-506056 | 50 | 60 | ||||
| SYC-567185 | 56 | 71 | 8.5 | 9.5 | 11.5 | 2 |
| SYC-637885 | 63 | 78 | ||||
| SYC-708585 | 70 | 85 | ||||
| SYC-809585 | 80 | 95 | ||||
| SYC-9010585 | 90 | 105 | ||||
| SYC-10012011 | 100 | 120 | 11.3 | 12.5 | 14.5 | |
| SYC-11013011 | 110 | 130 | ||||
| SYC-12514511 | 125 | 145 | ||||
| SYC-14016011 | 140 | 160 | ||||
| SYC-16018514 | 160 | 185 | 14.8 | 16 | 18 | |
| SYC-18020514 | 180 | 205 | ||||
| SYC-20022514 | 200 | 225 | ||||
| SYC-22025018 | 220 | 250 | 18.5 | 20 | 22.5 | 2.5 |
| SYC-25028018 | 250 | 280 | ||||
| SYC-28031018 | 280 | 310 | ||||
| SYC-32036023 | 320 | 360 | 23 | 25 | 28.5 | 3.5 |
| SYC-36040023 | 360 | 400 |
